
- B2F型双法兰松套限位伸缩接头
- BF型单法兰松套限位伸缩接头
- VSSJA-2型双法兰限位伸缩接头
- VSSJA-1型单法兰限位伸缩接头
- SSJB-3(BY)型压盖式限位伸缩接头
- SSJB(AY)型压盖式松套伸缩接头
- VSSJA/AF型法兰松套伸缩接头
- GFJH型双法兰钢复接头
- KRHD钢制柔性管接头
- KRHD型钢制柔性接头(不锈钢)
- 大挠度松套伸缩接头
巩义市昌旺供水材料厂
地 址:巩义市永安路南段
电 话:0371-64393352 64580820
传 真:0371-64031200
手 机:15903663076
邮 编:451200
邮 箱:gychangwang@sina.com
网 址:www.cwssjt.com
地 址:巩义市永安路南段
电 话:0371-64393352 64580820
传 真:0371-64031200
手 机:15903663076
邮 编:451200
邮 箱:gychangwang@sina.com
网 址:www.cwssjt.com
首页 > 伸缩接头系列
SSJB-3(BY)型压盖式限位伸缩接头
作者 Admin
浏览
发布时间 2011-04-21
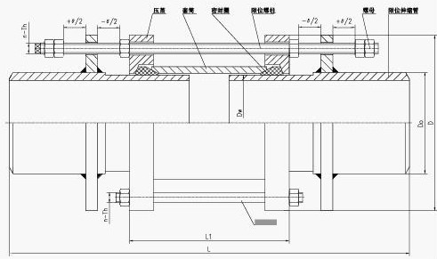
名称:SSJB-3(BY)型压盖式限位伸缩接头
性能特点:
SSJB-3(BY)型压盖式限位伸缩接头是我公司在吸收国外先进技术的基础上,结合实际需要研制开发的一种新型管道连接器,产品结构设计合理,密封性能可靠;两端采用承插连接,安装,拆卸方便。适合连接输送水、油、气及颗粒粉状物的钢管、铸铁管、球墨铸铁管、PAC管、ABS管等,连接的同时能补偿管道的轴向位移及一定量的挠曲和偏心。
SSJB-3(BY)型压盖式限位伸缩接头是我公司在吸收国外先进技术的基础上,结合实际需要研制开发的一种新型管道连接器,产品结构设计合理,密封性能可靠;两端采用承插连接,安装,拆卸方便。适合连接输送水、油、气及颗粒粉状物的钢管、铸铁管、球墨铸铁管、PAC管、ABS管等,连接的同时能补偿管道的轴向位移及一定量的挠曲和偏心。
SSJB-3(BY)型压盖式限位伸缩接头是在松套伸缩接头原有基础上,增设限位装置,在最大伸缩量处用双螺母锁定,这样就实现管道在允许的伸缩量中可以自由伸缩,一旦超过其最大伸缩量,就起到限位,这样就就有效的确保管道的安全运行,特别适用于有震动或有一定斜度及在拐弯的管道中的连接。
SSJB-3(BY)型压盖式限位伸缩接头标准(GB/T12465-2002)或BY(GB/T12465-2007)。
SSJB-3(BY)型压盖式限位伸缩接头是由松套伸缩接头和两个限位短管组合而成。压盖限位伸缩接头能防止管道因超量位移导致补偿接头的泄漏和损坏,压盖限位伸缩接头主要用于在允许位移范围内吸收轴向位移和承受轴向压力推力的管道松套连接。
SSJB-3(BY)型压盖式限位伸缩接头的优点:伸缩量大,安装简单方便,使用寿命长(使用寿命长达10-30年)维修方便。
SSJB-3(BY)型压盖式限位伸缩接头的特点:压盖限位伸缩接头管道两边以焊接的方式连接。
SSJB-3(BY)型压盖式限位伸缩接头安装方法:压盖限位伸缩接头两边均与管道焊接,压盖限位伸缩接头在安装时松开压盖螺母,调整至安装长度后把两端的短管与管道焊接,最后用对角法均匀拧紧螺母,调整好防脱螺母即可。
SSJB-3(BY)型压盖式限位伸缩接头具有良好的综合性能,所以它广泛用于化工、建筑、给水、排水、石油、轻重工业、冷冻、卫生、水暖、消防、电力等基础工程。
SSJB-3(BY)型压盖式限位伸缩接头标准(GB/T12465-2002)或BY(GB/T12465-2007)。
SSJB-3(BY)型压盖式限位伸缩接头是由松套伸缩接头和两个限位短管组合而成。压盖限位伸缩接头能防止管道因超量位移导致补偿接头的泄漏和损坏,压盖限位伸缩接头主要用于在允许位移范围内吸收轴向位移和承受轴向压力推力的管道松套连接。
SSJB-3(BY)型压盖式限位伸缩接头的优点:伸缩量大,安装简单方便,使用寿命长(使用寿命长达10-30年)维修方便。
SSJB-3(BY)型压盖式限位伸缩接头的特点:压盖限位伸缩接头管道两边以焊接的方式连接。
SSJB-3(BY)型压盖式限位伸缩接头安装方法:压盖限位伸缩接头两边均与管道焊接,压盖限位伸缩接头在安装时松开压盖螺母,调整至安装长度后把两端的短管与管道焊接,最后用对角法均匀拧紧螺母,调整好防脱螺母即可。
SSJB-3(BY)型压盖式限位伸缩接头具有良好的综合性能,所以它广泛用于化工、建筑、给水、排水、石油、轻重工业、冷冻、卫生、水暖、消防、电力等基础工程。

SSJB-3(BY)型压盖式限位伸缩接头材料表
|
序号
|
名称
|
数量
|
材料
|
|
1
|
压盖
|
2
|
QT400-15、Q235A、ZG230-450、20
|
|
2
|
套筒
|
1
|
Q235A、20、16Mn
|
|
3
|
密封圈
|
2
|
NBR
|
|
4
|
限位短管
|
2
|
Q235A、20、16Mn
|
|
5
|
螺母
|
Tn
|
Q235A、35、1Cr18Ni9Ti
|
|
6
|
长螺母
|
n
|
Q235A、35、1Cr18Ni9Ti
|
|
7
|
螺柱
|
n
|
Q235A、35、1Cr18Ni9Ti
|
上一篇:【VSSJA-1型单法兰限位伸缩接头】
下一篇:【SSJB(AY)型压盖式松套伸缩接头】


